无人机撞网回收
转载 2016-11-21 07:07 来源:兵工科技

固定翼无人机的回收在飞行器领域是个难题,除了极个别造价昂贵、技术先进的无人机(如:捕猎者、全球鹰)可以自主着陆外,其他无人机的回收方式比较多样。今天给大家介绍一种小型无人机普遍采用的回收方式一一撞网回收。
图注: “杀人蜂”无人机发射(左)与回收(右)
无人机撞网回收系统工作原理
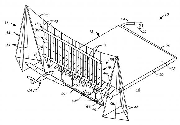
无人机撞网回收是一种理想的精确定点回收方式,特别适合固定翼无人机在狭窄回收场地或舰船上使用,可以认为它是一种零距离回收方式。撞网回收可适用于中小型舰船,回收网通常在舰船尾部展开,其高度高于舰尾,飞机直接撞入网中。成功捕获无人机后,通过降低网的髙度,然后人工把无人机从网中移走。撞网回收不需要像常规跑道着陆那样锚要精确保持下降速率,但需要精确控制着陆点,维持尽可能低的进场速度。
图注:无人机回收网机构示意图
无人机撞网回收系统关键技术
撞网回收系统由拦阻网装置、吸能缓冲装置和末端引导装置等组成,其核心技术在于如何引导无人机准确地飞向拦阻网,触网后如何柔和地吸收能置,从而平稳、准确地实现撞网回收。国外对撞网回收的无人机末端引导技术的研究应用主要有以下几类:雷达引导、激光引导、GPS组合引导和电视跟踪引导等。其中,基于激光引导的典型应用为瑞士空军使用的目标定位和跟踪传感器自动引导系统;基于GPS 组合引导的典型应用有美国的Piccolo自动着舰系统,该系统用于“银孤”无人机的自动着舰撞网回收。
图注:银狐无人机撞网回收系统
相关资讯
更多- 首届中国低空融媒大会圆满落幕:共筑新基建,开启低空视觉艺术与融媒发展新篇章
- 从概念落地成为实景!无人机应用场景“多点开花” 低空经济激活千亿市场
- 大漠大邀您共赴 CES 2026 | 和千架无人机共同点亮拉斯维加斯夜空
- 从空中8K全景到水下巡检:CES 2026 无人机创新指向“空水一体”的立体感知网络
- 教育观察④ | AI时代校本课程突围:从“百花齐放”到“三重融合”的体系重构
- 2025企业家博鳌论坛:无人机表演演绎“十五五”新机遇,千机科技携手新华社共绘低空经济蓝图!
- AOPA航拍应用技术课程十二月开班通告
- 火热报名!东莞无人机驾驶员(3-5级)职业技能等级证书,享补贴
- 教育观察③ | “新课标”引领课程转型:科技兴趣班从 “育分” 到 “育人” 的破局之路
- 教育观察② | “馆校协同”打通育人边界,凝聚育人合力


