发明授权专利:多旋翼飞行器演示模拟装置
编辑 2020-01-15 20:15 Lvcoco 来源:无人机网无人机网(www.youuav.com)数据中心援引国家知识产权局的专利数据称,在这份发明专利中,描述了一种多旋翼飞行器演示模拟装置,其涉及无人机飞行控制仿真技术领域,包括:支架底座、快速连接机构、控制机构、机臂机构、升力生成机构;
支架底座用于对快速连接机构、控制机构、机臂机构、升力生成机构进行支撑,支架底座与快速连接机构相连接;
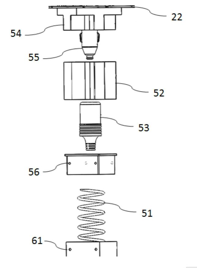
快速连接机构包括:与支架底座相连接的弹簧;具有第一快装接头的快拆基座,快拆基座与弹簧相连接;具有第二快装接头的支撑件;支撑件用于与机臂机构相连接;
控制机构设置在机臂机构上,其用于与遥控装置进行实时通讯并对升力生成机构进行控制;升力生成机构连接在机臂机构上,其用于产生飞行动力。
本申请能在一定程度上模拟微小型旋翼式飞行器的自由飞行过程,以用于初学者的普及。
该发明涉及无人机飞行控制仿真技术领域,特别涉及一种多旋翼飞行器演示模拟装置。
目前,对于小型无人机的研究方兴未艾,在市场上出现了各种各样的小型旋翼无人机。对于旋翼无人机而言,使用者的飞行控制技术是操作无人机的重点之王。
无人机使用直接力矩,实现六自由度(位置与姿态)的控制,具有多变量、非线性、强耦合和干扰敏感的特性。同时,由于飞行过程中,无人机同时受到多种物理效应的作用,还容易受到气流等外部环境的干扰,这些都使得使用者的控制结果对无人机的飞行特征影响至关重要,因此,姿态控制是整个飞行控制比较重要的部分。
但是对于无人机控制的初学者而言,其无法熟练的掌握对无人机的控制,因此不能对无人机做到良好的姿态控制,在控制过程中便可能出现失误进而导致对无人机造成损伤。
而且,目前无人机的价格高昂,不易维修,若出现失误导致无人机损坏将对使用者造成较大经济损失。
为了克服现有技术的上述缺陷,该发明所要解决的技术问题是提供了一种多旋翼飞行器演示模拟装置,其能够在一定程度上模拟微小型旋翼式飞行器的自由飞行过程,以便于初学者的普及。
多旋翼飞行器演示模拟装置的结构示意图
机翼单元的爆炸图
快速连接机构的爆炸图
支架底座的结构示意图
支架底座收缩过程的结构示意图
支架底座收缩完成后的结构示意图
相关资讯
更多- 大语言模型+无人机算法,创造无限可能,你的算法由你来定义
- 科技赋能,守护水安全:航天宏图水利遥感SaaS服务平台,让治水更“智慧”
- 电量随时满格!氢航Hypal氢能户外电源,助力晚高峰无人机巡逻效率超级加倍!
- 白鲸航线成功完成W5000飞机全机地面共振试验
- 一探eVTOL之「芯」——想飞起来需要怎样的电池?
- 司南技术π (第7期) | GNSS抗干扰全景实测 —— QC7820芯片对比解析
- 凌云 U15 无人机 GPS 拒止(无 GPS )环境下多源融合导航作业方案
- 数字孪生流域筑牢山洪防线——航天宏图“黑科技”让山洪灾害预警更智能
- 突破时刻 | 时代飞鹏圆满完成高温极限环境实验,无人机硬核性能获严苛验证
- 星图超算云网:搭建算力桥梁,构建空天信息新基建算力引擎





