Twitter新专利:可用推文进行控制的无人机
转载 2015-12-22 13:14 来源:cnBeta.COM国外知名社交网站Twitter近日也对无人机产生了浓厚的兴趣,只是并非用于运输。根据上周末美国商标和专利局公布的专利清单,Twitter最新获得的专利中描述了一款具备拍照和视频的无人机,可通过Twitter用户账号来进行传输控制。自然,获得这项专利并不就意味着Twitter就计划打造这样一款无人机。

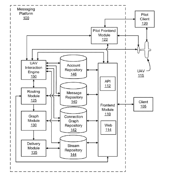
根据专利描述,用户能够使用转发、回复和点赞等来控制无人机的方向,或者开始/结束视频录制和拍照。Twitter此外还提到这款无人机具备远程呈现和视频直播等功能。从技术和安全角度来看,这些专利描述听上去显得非常怪异,但不失为一个有想象力的概念产品。

相关资讯
更多- 地面机器人尽管受到欢迎,但乌克兰利用其执行任务不到其无人机总任务量的1%
- 世界最小的可编程、全自主机器人在美问世
- Sunflower Labs 获1600万美元B轮融资,致力把无人机安防从概念推向规模化落地
- Packet Digital获得美国防部5000万美元锂电订单
- 中标合肥 | 中科星图低空飞行服务平台构建一体化管理新模式,助力合肥打造“天空之城”
- 杨雷一行到武汉特飞调研并视察安全生产工作
- 大漠大亮相世界旅游经济论坛2025(GTEF): 在智能文旅浪潮中重塑全球旅游新格局
- 央视报道 | 聚焦金湖生态之变,昊舜视讯无人机机场守护湿地生命律动
- 三部委发文,华诺星空“小快轻智”装备入围
- 点燃科技梦想:龙华中学多批次学生参与无人机科普,翼飞鸿天助力人才孵化